Válvula Retenção Tipo Bola
Válvula de retenção tipo bola, para esgoto, com flanges, DN 50 a 400 MM, classe de pressão PN10 e PN16, face a face conforme DIN3202-F6, furação de flanges conforme EN1092/ISO7005/NBR7675. Corpo e tampa em ferro ductil GJS 450-10 revestidos interna e externamente com epóxy pó, aplicado eletrostaticamente, esfera (bola) em aço carbono ou ferro dúctil, revestido integralmente com borracha NBR ou EPDM sob processo de vulcanização, anel de retenção da tampa em borracha NBR, parafusos e porcas externas fabricadas em aço carbono ASTM A29. Testes de performance conforme EN12266-1:2012.
Revestimento Interno:
Epóxy pó
Revestimento Externo:
Epóxy pó
Epóxy pó
Revestimento Externo:
Epóxy pó
-
FTSG 0224 - VÁLVULA RETENÇÃO FLANGEADA TIPO BOLA.v1
DOWNLOAD

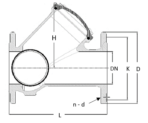
| DN | PN | L | H | D | K | n-Φd | Massa do conjunto |
|---|---|---|---|---|---|---|---|
| mm | mm | mm | mm | mm | Kg | ||
| 50 | 10/16 | 200,0 | 100,0 | 165,0 | 125,00 | 4-Ø19 | 7,30 |
| 65 | 10/16 | 240,0 | 125,0 | 185,0 | 145,00 | 4-Ø19 | 10,40 |
| 80 | 10/16 | 260,0 | 145,0 | 200,0 | 160,00 | 8-Ø19 | 12,87 |
| 100 | 10/16 | 300,0 | 180,0 | 220,0 | 180,00 | 8-Ø19 | 16,60 |
| 125 | 10/16 | 350,0 | 245,0 | 250,0 | 210,00 | 8-Ø19 | 32,00 |
| 150 | 10/16 | 400,0 | 300,0 | 285,0 | 240,00 | 8-Ø23 | 41,50 |
| 200 | 10 | 500,0 | 375,0 | 340,0 | 295,00 | 8-Ø23 | 70,80 |
| 200 | 16 | 500,0 | 375,0 | 340,0 | 295,00 | 12-Ø23 | 70,80 |
| 250 | 10 | 600,0 | 455,0 | 395,0 | 350,00 | 12-Ø23 | 117,40 |
| 250 | 16 | 600,0 | 455,0 | 405,0 | 355,00 | 12-Ø28 | 117,40 |
| 300 | 10 | 700,0 | 535,0 | 445,0 | 400,00 | 12-Ø23 | 168,75 |
| 300 | 16 | 700,0 | 535,0 | 460,0 | 410,00 | 12-Ø28 | 168,75 |
| 400 | 10 | 900,0 | 710,0 | 565,0 | 510,00 | 16-Ø28 | 330,00 |
| 400 | 16 | 900,0 | 710,0 | 580,0 | 525,00 | 16-Ø31 | 330,00 |