Tubo Integral Flange e Ponta
Tubo com flange e ponta. Tubo de ferro fundido dúctil fabricado conforme norma NBR 15420. Montado por dilatação térmica, interferência e roscado, é destinado para transporte de esgoto, podendo ser com ou sem aba de vedação.
Revestimento Interno:
Argamassa de cimento aluminoso
Revestimento Externo:
Zinco metálico e pintura epóxi vermelha
Argamassa de cimento aluminoso
Revestimento Externo:
Zinco metálico e pintura epóxi vermelha

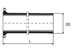
| Flanges | |||||||
|---|---|---|---|---|---|---|---|
| Tubo Cilíndrico | Tipos de Flanges | ||||||
| DN | Comprimento Máximo L | DE | e nom Ferro | Massa com Cimento | PN 10 | PN 16 | PN 25 |
| m | mm | mm | Kg/m | Kg | Kg | Kg | |
| 80 | 5,8 | 98 | 6 | 13,9 | 4 | 4 | 4 |
| 100 | 5,8 | 118 | 6 | 17,2 | 4,5 | 4,5 | 5 |
| 150 | 5,8 | 170 | 6 | 26 | 8 | 8 | 9 |
| 200 | 5,8 | 222 | 6,3 | 34,8 | 10 | 10 | 12 |
| 250 | 5,8 | 274 | 6,8 | 45,4 | 14,5 | 14,5 | 17,5 |
| 300 | 5,8 | 326 | 7,2 | 57,1 | 18 | 18 | 23 |
| 350 | 5,8 | 378 | 7,7 | 75,5 | 23 | 26 | 34 |
| 400 | 5,8 | 429 | 8,1 | 89,5 | 28 | 34 | 45 |
| 450 | 5,8 | 480 | 8,6 | 105,1 | 34,5 | 42 | 53,5 |
| 500 | 5,8 | 532 | 9 | 121,8 | 38 | 53 | 65 |
| 600 | 5,8 | 635 | 9,9 | 158,2 | 56 | 82 | 96 |
| 700 | 6,8 | 738 | 14,4 | 260,1 | 76 | 91 | 126 |
| 800 | 6,8 | 842 | 15,6 | 318,9 | 98 | - | - |
| 900 | 6,8 | 945 | 16,8 | 383 | 125 | - | - |
| 1000 | 6,8 | 1048 | 18 | 452,3 | 150 | - | - |
| 1200 | 6,8 | 1255 | 20,4 | 607,8 | 220 | - | - |